电磁高频振动细筛分级试验部分
作者:宏源科技 日期:2014-08-08
试验原料
试验所用煤样为官地选煤厂精煤磁尾,按照 《煤样的制备方法》 ( GB 474—1996) 的要求制成 试验用煤样。为了考察煤样各粒度级的产率和灰 分,根据中华人民共和国煤炭行业标准 《煤粉筛分试验方法》 ( MT/T 58—1993) ,采用振动筛筛孔为 0. 5、0. 25、0. 125、0. 074、0. 045 mm 的标准套筛对该煤样进行了粒度分析,结果见表 1
由表 1 可见,该煤样中 < 0. 075 mm 粒级的颗 粒占 31. 60%,灰分高达 39. 36%,比 >0. 075 mm 粒级的颗粒灰分高 25. 88 个百分点。这表明煤样中细粒级多为高灰细泥,脱除这部分细泥不仅可以有 效提升精煤产品的质量,且可消除这部分细泥对后 序生产过程中分级过滤脱水的不利影响。
试验装置
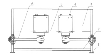
试验采用电磁高频振动筛脱泥,试验装置如图 1 所示。
试验所用煤样为官地选煤厂精煤磁尾,按照 《煤样的制备方法》 ( GB 474—1996) 的要求制成 试验用煤样。为了考察煤样各粒度级的产率和灰 分,根据中华人民共和国煤炭行业标准 《煤粉筛分试验方法》 ( MT/T 58—1993) ,采用振动筛筛孔为 0. 5、0. 25、0. 125、0. 074、0. 045 mm 的标准套筛对该煤样进行了粒度分析,结果见表 1

试验装置
试验采用电磁高频振动筛脱泥,试验装置如图 1 所示。

图 1 电磁高频细筛试验装置图
试验内容及评定指标
试验内容
该研究主要考察电磁高频细筛试验装置对试煤样的分级性能,试验内容如下: 在不同浓度条件下进行试验,以分级效率和筛上产品灰分为考察指标,确定矿浆浓度; 考察振动 时间对筛分分级效果的影响,确定试验的工艺条 件; 考察振动筛筛孔大小、喷水量等对振动筛筛分分级效果的影 响,以期得到最佳的分级效率。
评定指标
在实际生产中,由于筛孔的结构以及孔的变 形、扩大或磨损使有的筛孔比分级粒度大很多倍, 筛下物中不可避免地存在 “超粒”物料,为此原 煤炭部颁布了以总分级效率计算所有振动筛分设备的筛分效率。
本试验采用总分级效率来评价分级效果的好 坏,同时考虑全部分级产品的正配率,以综合评价分 级设备的效果。总分级效率 η 总 计算公式如下: η 总 = ( α - θ) ( β - α) α( β - θ) ( 100 - α) × 100% , 式中: α 为入料中小于规定粒度的细粒含量; β 为筛 下产品中小于规定粒度的细粒含量; θ 为振动筛筛上产品 中小于规定粒度的细粒含量 [12] 。 以粗粒级分配率为 50% 时对应的粒度作为分 级粒度,然后根据公式求得对应的 η 50 作为对应的 总分级效率。
试验内容
该研究主要考察电磁高频细筛试验装置对试煤样的分级性能,试验内容如下: 在不同浓度条件下进行试验,以分级效率和筛上产品灰分为考察指标,确定矿浆浓度; 考察振动 时间对筛分分级效果的影响,确定试验的工艺条 件; 考察振动筛筛孔大小、喷水量等对振动筛筛分分级效果的影 响,以期得到最佳的分级效率。
评定指标
在实际生产中,由于筛孔的结构以及孔的变 形、扩大或磨损使有的筛孔比分级粒度大很多倍, 筛下物中不可避免地存在 “超粒”物料,为此原 煤炭部颁布了以总分级效率计算所有振动筛分设备的筛分效率。
本试验采用总分级效率来评价分级效果的好 坏,同时考虑全部分级产品的正配率,以综合评价分 级设备的效果。总分级效率 η 总 计算公式如下: η 总 = ( α - θ) ( β - α) α( β - θ) ( 100 - α) × 100% , 式中: α 为入料中小于规定粒度的细粒含量; β 为筛 下产品中小于规定粒度的细粒含量; θ 为振动筛筛上产品 中小于规定粒度的细粒含量 [12] 。 以粗粒级分配率为 50% 时对应的粒度作为分 级粒度,然后根据公式求得对应的 η 50 作为对应的 总分级效率。
本文关键词:










