脉冲布袋除尘器
脉冲袋式除尘器概述
MC-II型脉冲袋式除尘器是在MC-1型的基础上,改进的新型高效脉冲袋式除尘器。为了进步完善MC-1型脉冲袋式除尘器,将原图进行了修改,改后的MC-II型脉冲袋式除尘器保留了MC-1型的净化效率高,处理气体能力大,性能稳定,操作方便、滤袋寿命长、维修工作量小等优点。而且从结构上和脉冲阀上进行改革,解决了露天安放和压缩空气压力低的问题。适用机械、冶金、橡胶、面粉、化工、制药、碳素、建材、矿山等单位。


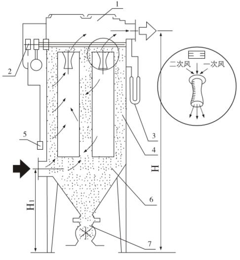
脉冲除尘器结构原理

1、上箱体2、喷吹清灰系统3、V型压力计4、中箱体5、控制仪6、下箱体7、排灰系统
MC-型脉冲袋式除尘器结构原理图
技术参数
| 型号规格 | 过滤面积m2 | 含尘浓度g/m3 | 过滤风速m/min | 过滤风量m3/n | 阻力H2omm | 效率% | 外型尺寸长×宽×高(mm) | 重量(Kg) |
|---|---|---|---|---|---|---|---|---|
| MC24-Ⅱ | 18 | <15 | 2-4 | 2160-4320 | 120-150 | 99.5 | 1090×1678×3667 | 1133 |
| MC36-Ⅱ | 27 | <15 | 2-4 | 3240-6480 | 120-150 | 99.5 | 1490×1678×3667 | 1485 |
| MC48-Ⅱ | 36 | <15 | 2-4 | 4320-8640 | 120-150 | 99.5 | 1890×1678×3667 | 1495 |
| MC60-Ⅱ | 45 | <15 | 2-4 | 5400-10800 | 120-150 | 99.5 | 2290×1678×3667 | 1730 |
| MC72-Ⅱ | 54 | <15 | 2-4 | 6480-12960 | 120-150 | 99.5 | 2690×1678×3667 | 1950 |
| MC84-Ⅱ | 63 | <15 | 2-4 | 7560-15120 | 120-150 | 99.5 | 3090×1678×3667 | 2230 |
| MC96-Ⅱ | 72 | <15 | 2-4 | 8640-17280 | 120-150 | 99.5 | 3690×1678×3667 | 2400 |
| MC120-Ⅱ | 99 | <15 | 2-4 | 10800-21600 | 120-150 | 99.5 | 4450×1678×3667 | 2870 |












